КАЗАХСТАНСКАЯ ПОДШИПНИКОВАЯ ФАБРИКА

КАЗАХСТАНСКАЯ ПОДШИПНИКОВАЯ ФАБРИКА

Продукция

    Подшипники можно классифицировать на следующие основные типы:

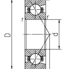
  • Радиальные шариковые подшипники
  • Радиально-упорные шарикоподшипники
  • оликовые подшипники
  • Конические роликоподшипники
  • Игольчатые подшипники
  • Упорные шарикоподшипники

Данный вид подшипников является самым распространенным, и область их применения очень широка. Они могут воспринимать не только радиальную нагрузку, но и осевую в любом направлении. Благодаря низкому крутящему моменту эти подшипники могут использоваться в таких условиях, где присутствуют высокие скорости, и потери энергии должны быть минимальными. Подшипники этого типа легко устанавливаются и подходят для различных вариантов конструкции оборудования и условий .

Особенностью этого типа подшипников является способность воспринимать как радиальные, так и осевые нагрузки в одном направлении. Изготавливаются подшипники с четырьмя величинами угла контакта 15° (суффикс С ), 25° (суффикс А5 ),30° (суффикс А ), 40° ( суффикс В ). Чем больше угол контакта, тем больше осевые нагрузки способен воспринимать подшипник. Меньший угол контакта предпочтителен для высокоскоростных режимов работы. Обычно устанавливаются спаренными, с правельно подобранным зазором между подшипниками. Сепараторы, в основном, стальные, однако в сверхточных подшипниках с углом контакта менее 30° часто используются сепараторы из полиамида. Двухрядные радиально-упорные шарикоподшипники являются обычно двумя однорядными радиально-упорными шарикоподшипниками, установленными задним торцом к заднему торцу. кроме того конструктивно исполняются с одним внутренним и одним внешним кольцом, каждое из которых имеет дорожки качения. способны воспринимать осевые нагрузки в обоих направлениях.

Cферические роликоподшипники, которые могут работать практически в любых условиях. Они отличаются хорошей сопротивляемостью заклиниваниям, размерной стабильностью, выдерживают высокие радиальные и умеренные осевые нагрузки, обладают высокой износостойкостью при вибрациях, несоосности и ударных нагрузках. Повышение эксплуатационных характеристик включает в себя сверхвысокую точность внутреннего и наружного диаметров, радиального зазора и ролики, прошедшие специальную термо- и суперфинишную обработку, с прекрасными рабочими характеристиками при ударной нагрузке.

Этот тип подшипников состоит из внутреннего кольца, внешнего кольца и конических роликовых элементов. Благодаря геометрии их конструкции, конические роликовые подшипники могут выдерживать комбинированные нагрузки (осевые и радиальные). Кроме того, такая конструкция позволяет осуществлять вращательные движения без скольжения роликов по дорожкам внешнего и внутреннего колец. Контактный угол дорожек качения конических роликовых подшипников переменчивый, что позволяет компенсировать в каждом конкретном случае соотношение осевых и радиальных нагрузок применения; чем больше угол, тем больше способность выдерживать осевые нагрузки.

В игольчатых подшипниках используются ролики, длина которых от трех до десяти раз больше диаметра, и он обладают сравнительно высокой радиальной грузоподъемностью. Сепаратор типа “М” и установка роликов специального профиля обеспечивает высокую надежность и долговечность при работе с большими нагрузками или в случае несоосности. Особенности и преимущества продукции:• Номенклатура включает в себя цельные тянутые кольца ли сепартор, также различные варианты роликов • Высококачественная сталь – высокая степень чистоты материалов увеличивает срок службы подшипников до 80%

В игольчатых подшипниках используются ролики, длина которых от трех до десяти раз больше диаметра, и он обладают сравнительно высокой радиальной грузоподъемностью. Сепаратор типа “М” и установка роликов специального профиля обеспечивает высокую надежность и долговечность при работе с большими нагрузками или в случае несоосности. Особенности и преимущества продукции:• Номенклатура включает в себя цельные тянутые кольца ли сепартор, также различные варианты роликов • Высококачественная сталь – высокая степень чистоты материалов увеличивает срок службы подшипников до 80%

Шарнирные подшипники – это подшипники скольжения, внутренние и наружные кольца которых имеют поверхности скольжения сферической формы. Шарнирные подшипники предназначены для передачи радиальных, осевых и комбинированных нагрузок в подвижных или неподвижных соединениях машин и механизмов. шарнирные подшипники работают при взаимном перемещении одного кольца относительно другого, при сравнительно небольшой скорости скольжения. Шарнирные подшипники изготавливаются из таких комбинаций (различные поверхности скольжения): Сталь в сталь: Внутреннее и наружное кольцо изготавливаются из твердой и фосфатированной стали подшипников, а сферические поверхности скольжения обработаны впитывающимся маслом. Сталь на бронзу: Внутреннее кольцо изготавливается из твердой стали подшипников, а наружное кольцо из бронзы.• Сталь на композитном материале – PTFE: Внутреннее кольцо изготавливается из твердой композитной стали подшипников с покрытием твердого хрома. Наружное кольцо изготавливается из стали с композитным материалом – PTFE, которая зажимается на внутреннем кольце. Обратите внимание: Этих подшипников не надо смазывать